
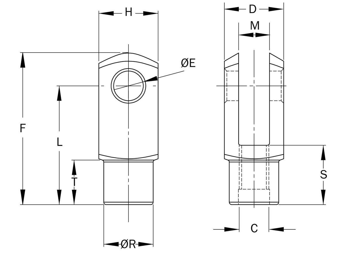
Gabelköpfe ohne Federbolzen sind designet, um Gasdruckfedern an Winkel zu befestigen. Wir bieten ebenfalls die passenden Bolzen an; Sie finden eine Link unter assoziierte Produkte weiter unten auf dieser Seite.
Anwendung:
GSA029 mit Federklappbolzen GSA022
GSA030 mit Federklappbolzen GSA013
GSA031 mit Federklappbolzen GSA023
GSA032 mit Federklappbolzen GSA024
Werkstoff - Stahl, verzinkt
Weitere Varianten auf Anfrage