Möbelbeschläge & Wohnraumlösungen

Kabelbinder - Selbstklebend slide 1
Kabelbinder - Selbstklebend slide 1
Kabelbinder - Selbstklebend slide 2
Kabelbinder - Selbstklebend slide 2

Gallerie


Kabelbinder - Selbstklebend slide 1
Kabelbinder - Selbstklebend slide 2

Kabelbinder - Selbstklebend

Dieser einteilige, selbstklebende Kabelbinder ersetzt einen Kabelbinder und einen separaten Sockel. Er eignet sich zur schnellen und leichten Befestigung, entweder manuell oder mit einem Montagewerkzeug.

Typische Anwendungen: Elektrogeräte, Haushaltsgeräte, Rasenmäher, Computer, Telefonsysteme, Klimaanlagen

Werkstoff - Nylon
Standardfarbe - Natur

Selbstklebende Fläche 19 x 10 mm

B = Maximaler Kabelbündeldurchmesser
S = Mindeststärke in kg

Interessieren Sie sich für weitere Informationen, Muster oder CAD Dateien?

Dann kontaktieren Sie doch unseren Kundenservice oder benutzen den „ Muster Anfragen“-Knopf in der Produkttabelle.

Zeichnungen und Bilder dienen nur als Referenz und sollten nicht zur Produktspezifikation verwendet werden. Bei neuen Anwendungen empfehlen wir, mit den von uns gelieferten Mustern Montagetests durchzuführen.

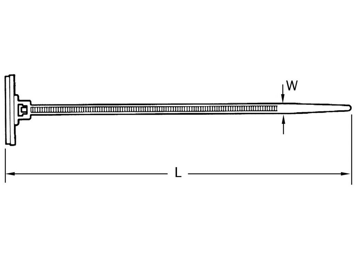
Maßangaben

Zum Vergrößern auf die Miniaturansicht klicken
Leitfaden für Abmessungen Herunterladen
Kabelbinder - Selbstklebend dimension guide

Varianten

Art.-Nr. Bezeichnung L W B S
CAT053 Selbstklebende Kabelbinder 100 2.5 16 8 Muster anfragen

Alle Abmessungen sind in mm, sofern nicht anders angegeben.

Zurück zum Anfang